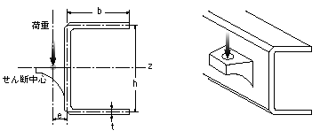
図のように、断面が非対称の梁では、荷重の方向を断面の図心と一致させても、ねじり変形を生じる。特に車両用構造部材では、このねじり変形が問題となる。荷重の方向をせん断中心近くに通すことで、ねじり変形を減らすことができる。


図 薄肉開断面の荷重の方向

 荷重の方向をせん断中心と一致させる。右図は車両フレームの例である。図のような薄肉の梁の場合、せん断中心は、IをZ軸に関する断面二次モーメントとすれば、梁の外側にe=2b2ht/(4I)の位置となる。